Airbus Files Patent That Shows Airplane Passengers Stacked On Top of Each Other

By Kim Lachance Shandrow Oct 07, 2015
Airbus

Opinions expressed by Entrepreneur contributors are their own.

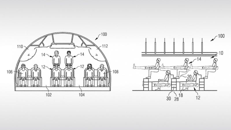
“Ladies and gentlemen, if you’re seated above another passenger, please try your best not to kick them in the face during the flight.” This ridiculous in-flight announcement could become a reality if Airbus’s latest crazy seating arrangement concept comes to fruition.

The French aerospace manufacturer recently filed a patent for an overhead seating design that would pack people even tighter into planes. The images in the patent show an uncanny split-level cabin concept, one that would have business class passengers stacked on top of one another, like the contents of “a mile-high submarine sandwich,” as TravelPulse so perfectly puts it.

The arrangement would push passengers within inches of the ceiling of the plane, enabling yet more precious cargo to board economy flights, forcing us to smell each other even more up close and personal. At least the upper-tier seats could recline up to 180 degrees, though they look nowhere near as cozy and cool as Air Lair‘s futuristic A380 seating dream.

Related: The Way We Board Airplanes Is in Need of an Upgrade

“In modern means of transport, in particular in aircraft, it is very important from an economic point of view to make optimum use of the available space in a passenger cabin,” Airbus wrote in the patent application. Because of course this is about making more money. It’s high time airlines cash in on the vertical space they waste.

Could this be the future of flight? Is the company planning to one day build this awful seating arrangement? We contacted Airbus to find out, but have yet to hear back. Before you recoil imagining the many awkward possibilities, know that Airbus files around 600 or so patents a year, many of which never turn into squat. In the case of this Star Trek Enterprise-like “Flying Donuts” Airbus patent, it’s really too bad. We’d be down for that sweet, spacey ride.

Related: Hate Flying? This Dreamy (or Dorky) Virtual Reality Helmet Could Help You Escape the Experience.

“Ladies and gentlemen, if you’re seated above another passenger, please try your best not to kick them in the face during the flight.” This ridiculous in-flight announcement could become a reality if Airbus’s latest crazy seating arrangement concept comes to fruition.

The French aerospace manufacturer recently filed a patent for an overhead seating design that would pack people even tighter into planes. The images in the patent show an uncanny split-level cabin concept, one that would have business class passengers stacked on top of one another, like the contents of “a mile-high submarine sandwich,” as TravelPulse so perfectly puts it.

The arrangement would push passengers within inches of the ceiling of the plane, enabling yet more precious cargo to board economy flights, forcing us to smell each other even more up close and personal. At least the upper-tier seats could recline up to 180 degrees, though they look nowhere near as cozy and cool as Air Lair‘s futuristic A380 seating dream.

The rest of this article is locked.

Join Entrepreneur+ today for access.

Subscribe Now

Already have an account? Sign In

Kim Lachance Shandrow

Former West Coast Editor
Kim Lachance Shandrow is the former West Coast editor at Entrepreneur.com. Previously, she was a commerce columnist at Los Angeles CityBeat, a news producer at MSNBC and KNBC in Los Angeles and a frequent contributor to the Los Angeles Times. She has also written for Government Technology magazine, LA Yoga magazine, the Lowell Sun newspaper,...

Related Content